HV-A-5072
Доступен для скачивания
краткий каталог продукции:
Датчик предназначен для измерения температуры неагрессивных газообразных сред на улице или внутри помещений c повышенной влажностью в системах теплоснабжения, вентиляции и кондиционирования воздуха (HVAC — от англ. Heating, Ventilation & Air Conditioning).
Cистемы вентиляции не включены в номенклатуру продукции и услуг (работ), в отношении которых законодательными актами Российской Федерации предусмотрена их обязательная сертификация. Вводится в действие Постановлением Госстандарта России от 30 июля 2002 г. № 64 (в ред. Постановления Госстандарта РФ от 08.01.2003 № 3, Поправок, утв. Госстандартом РФ). Соответственно, устройства, которые используются для измерения параметров в данных системах, не подлежат обязательной сертификации.
Cистемы вентиляции не включены в номенклатуру продукции и услуг (работ), в отношении которых законодательными актами Российской Федерации предусмотрена их обязательная сертификация. Вводится в действие Постановлением Госстандарта России от 30 июля 2002 г. № 64 (в ред. Постановления Госстандарта РФ от 08.01.2003 № 3, Поправок, утв. Госстандартом РФ). Соответственно, устройства, которые используются для измерения параметров в данных системах, не подлежат обязательной сертификации.
Принцип действия и конструкция:
В защитной гильзе из нержавеющей стали, соединенной с пластиковым корпусом, находится чувствительный элемент: термосопротивление Pt100, Pt1000 или NTC 10k.
Термосопротивление Pt100, Pt1000 преобразует изменение температуры в изменение электрического сопротивления постоянного тока.
NTC-датчик (термистор, терморезистор) — это полупроводниковый прибор, электрическое сопротивление которого изменяется в зависимости от температуры. NТС-датчики имеют отрицательный температурный коэффициент сопротивления (ТКС) (Negative Temperature Coefficient — отрицательный температурный коэффициент), т.е. сопротивление уменьшается при увеличении температуры и увеличивается при ее уменьшении.
Особенности:
Термосопротивление Pt100, Pt1000 преобразует изменение температуры в изменение электрического сопротивления постоянного тока.
NTC-датчик (термистор, терморезистор) — это полупроводниковый прибор, электрическое сопротивление которого изменяется в зависимости от температуры. NТС-датчики имеют отрицательный температурный коэффициент сопротивления (ТКС) (Negative Temperature Coefficient — отрицательный температурный коэффициент), т.е. сопротивление уменьшается при увеличении температуры и увеличивается при ее уменьшении.
- Герметичный корпус IP67 для работы на улице или в помещениях с повышенной влажностью — в холодильных установках, теплицах, генераторных и компрессорных, автомойках, климатических камерах и т.п.
- Низкий показатель тепловой инерции ≤ 1 с обеспечивает максимально быструю реакцию на изменение окружающей температуры
- Датчик с 50M, Pt100 и Pt1000 может подключаться к приборам ОВЕН: контроллерам, например, ПЛК73, ПИД-регуляторам, например, ТРМ148, ТРМ151, а также совместим с контроллерами других производителей (российских и зарубежных)
- Датчик может подключаться к термостатам и терморегуляторам, например, ARCOM-N37, ART-D2, ТРМ-900, RTC 70F, ARCOM-D2-N2, ARCOM-N472, ARCOM-W793, ARCOM-W461, ARCOM-N371
- Датчик является частичным аналогом дТС3105, дТС3015, TS-E02 (RGP)
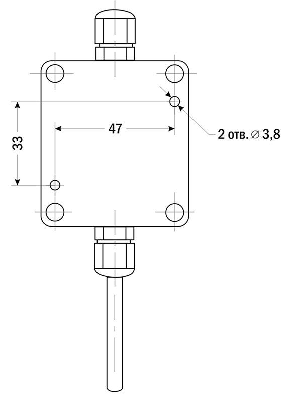
Монтаж:На задней панели датчика есть два отверстия для установки на стену (плоскость). Размеры и расположение монтажных отверстий представлены на чертеже.
Для подключения датчика необходимо пропустить провод через кабельный ввод и подключить к клеммнику (см. фото без крышки).
Для соединения датчика с измерительными приборами используются медные трехжильные провода сечением от 0,12 мм². Если к таким проводам предъявляются повышенные требования по температуре и помехозащищенности, рекомендуется применение соединительных проводов КМТФЭт-А-3, КМНН-А-3 (до +200°С) и КМСЭ-А-3, КМССЭ-А-3 (до +400°С). Для легкого и быстрого соединения проводов с повышенной (IP68) степенью защиты от внешних факторов может использоваться кабельный соединитель КСГ-68-2315.
Для подключения датчика необходимо пропустить провод через кабельный ввод и подключить к клеммнику (см. фото без крышки).
Для соединения датчика с измерительными приборами используются медные трехжильные провода сечением от 0,12 мм². Если к таким проводам предъявляются повышенные требования по температуре и помехозащищенности, рекомендуется применение соединительных проводов КМТФЭт-А-3, КМНН-А-3 (до +200°С) и КМСЭ-А-3, КМССЭ-А-3 (до +400°С). Для легкого и быстрого соединения проводов с повышенной (IP68) степенью защиты от внешних факторов может использоваться кабельный соединитель КСГ-68-2315.
При установке датчика температуры в качестве «наружного» рекомендуется применять монтажные скобы или иные приспособления, чтобы исключить передачу тепла от стены здания на корпус датчика.
Устанавливать датчик следует кабельным вводом вниз, чтобы максимально исключить возможность попадания воды по поверхности кабеля, через микротрещины в кабеле или кабельном вводе.
Для исключения влияния прямых солнечных лучей датчик следует монтировать на северной стороне и применять защитные козырьки или короба.
При использовании датчиков для измерения температуры внутри технических помещений (помещений с повышенной влажностью) рекомендуется устанавливать их на высоте 1,4–1,6 м над уровнем пола вдали от отопительных приборов, а также исключить попадание прямых солнечных лучей.
Устанавливать датчик следует кабельным вводом вниз, чтобы максимально исключить возможность попадания воды по поверхности кабеля, через микротрещины в кабеле или кабельном вводе.
Для исключения влияния прямых солнечных лучей датчик следует монтировать на северной стороне и применять защитные козырьки или короба.
При использовании датчиков для измерения температуры внутри технических помещений (помещений с повышенной влажностью) рекомендуется устанавливать их на высоте 1,4–1,6 м над уровнем пола вдали от отопительных приборов, а также исключить попадание прямых солнечных лучей.
Показатели надежности и условия эксплуатации:
Показатели надежности при соблюдении условий эксплуатации в рабочем диапазоне температур:
– средняя наработка на отказ — не менее 35 000 ч;
– средний срок службы — не менее 8 лет.
Рабочие условия эксплуатации:
– относительная влажность не более 95% при +35°С и более низких температурах без конденсации влаги;
– атмосферное давление от 84 до 106,7 кПа.
– средняя наработка на отказ — не менее 35 000 ч;
– средний срок службы — не менее 8 лет.
Рабочие условия эксплуатации:
– относительная влажность не более 95% при +35°С и более низких температурах без конденсации влаги;
– атмосферное давление от 84 до 106,7 кПа.
Технические характеристики:
| Параметр | Значение | ||
| 50М | Pt100, Pt1000 | NTC 10k | |
| Количество чувствительных элементов | 1 | ||
| Номинальная статическая характеристика | 50М, Pt100, Pt1000, NTC 10k | ||
| Диапазон измеряемых температур | −50...+150°С | −50...+200°С | −50...+120°С |
| Класс допуска датчика (Pt100, Pt1000) | B | А | – |
| Допустимое отклонение (Т — абсолютное значение температуры измеряемой среды) | ±(0,3°С+ 0,02T) | ±(0,15°С+ 0,02T)°С | |
| Длина монтажной части (L) | 50 мм, 70 мм | ||
| Диаметр монтажной части (D) | 6 мм | ||
| Тип NTC | – | – | NTC 10k ±1% 3935 |
| Сопротивление | 50 Ом (при 0°С) | 100 Ом, 1000 Ом (при 0°С) | 10 кОм (при +25°С) |
| Изменение сопротивления | 39,24...82,09 | 80,31...177,19 Ом (Pt100) 8031...1771,9 Ом (Pt1000) | 0,39...667,83 кОм (0,39 кОм соответствует верхнему пределу диапазона измерения температуры: +120°С, 667,83 кОм — нижнему: −50°С) |
| Тепловая инерция | ≤1 с | ||
| Схема подключения | 2-проводная | ||
| Кабельный ввод | М12×1,5, диаметр кабеля до 5 мм | ||
| Подключение кабеля | Клеммная колодка для проводов сечением до 1 мм² | ||
| Материал корпуса датчика | пластик | ||
| Габаритные размеры | 157×57×35 мм | ||
| Степень защиты | IP67 | ||
| Габаритные размеры |
|
| Монтажные отверстия
|
![]() |
ПРЕДЕЛЬНЫЕ ДОПУСТИМЫЕ ОТКЛОНЕНИЯ СОГЛАСНО ГОСТ 6651 (справочная таблица):
| Тип
| Класс допуска
| Диапазон измерения
| Допустимые отклонения
|
| 50M
| A
| −50...+100°С
| ±(0,15°С+0,02T)
|
| B
| −50...+200°С
| ±(0,3°С+0,02T)
| |
| C
| −180...+200°С
| ±(0,6°С+0,02T) | |
| Pt100
Pt1000 | A
| −100...+450°C (с проволочным ЧЭ);
−60...+300°C (с пленочным ЧЭ) | ±(0,15°С+0,02T)
|
| B
| −196...+660°C (с проволочным ЧЭ);
−60...+500°C (с пленочным ЧЭ) | ±(0,3°С+0,02T)
| |
| C
| −196...+660°C (с проволочным ЧЭ);
−60...+600°C (с пленочным ЧЭ) | ±(0,6°С+0,02T)
|
Т — абсолютное значение температуры измеряемой среды, °С.
Версия: 2024-02-21-ШАР
