ТСП-8043
Доступен для скачивания
краткий каталог продукции:
Термопреобразователь сопротивления ТСП-8043 предназначен для измерения и контроля температуры твердых тел, жидких и газообразных сред в автоматизированных судовых системах
Конструкция и принцип действия: Принцип действия термопреобразователей сопротивления основан на свойстве проводника менять электрическое сопротивление пропорционально изменению температуры окружающей среды (ГОСТ Р 6651-2009). Конструктивно такие термопреобразователи выполняются в виде катушки из тонкой медной или платиновой проволоки на каркасе из изоляционного материала или используются тонкопленочные чувствительные элементы, заключенные в защитную гильзу
Технические характеристики:
| Параметр | Значение |
| Номинальная статическая характеристика | Гр21
|
| Диапазон измеряемых температур | –50…+120°C |
| Класс допуска | С |
| Длина монтажной части | 200 мм |
| Диаметр монтажной части | 10 мм |
| Присоединение | штуцер М27×2 (внутренний)
|
| Материал корпуса датчика | нержавеющая сталь 12Х18Н10Т, наконечник - медь М1 |
| Материал головки термопреобразователя | нержавеющая сталь 12Х18Н10Т |
| Условное давление измеряемой среды | 0,63 МПа |
| Схема внутренних соединений проводников | 3-х проводная |
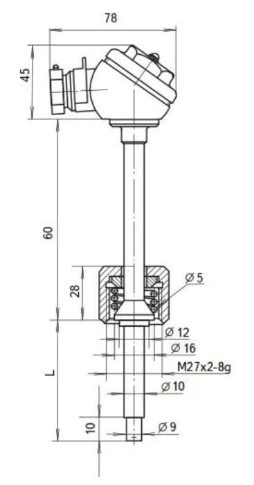
| Габаритные размеры |
![]() |
Версия: 2021-12-17-ЛВС
