ТСП-5088
Доступен для скачивания
краткий каталог продукции:
Термопреобразователь сопротивления ТСП-5088 используется для для температурных измерений твердых, жидких и газообразных сред, неагрессивных к защитной арматуре и материалу чувствительного элемента (ЧЭ) датчика
Технические характеристики:
| Параметры
| Значение |
| Номинальная статическая характеристика (НСХ) | 100П |
| Диапазон измеряемых температур |
–100…+200°C
|
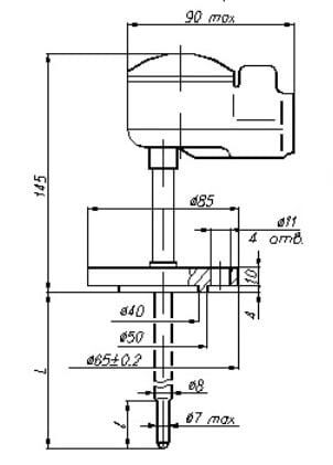
| Длина монтажной части (L)
| 160 мм |
| Длина монтажной части (l) | 45 мм |
| Диаметр монтажной части (d, D)
| 6 мм, 8 мм |
| Показатель тепловой инерции | ≤ 12 с
|
| Условное давление измеряемой среды | 4 МПа |
| Материал головки термопреобразователя | Прессматериал АГ-4В |
| Материал корпуса датчика | Сталь 12Х18Н10Т |
| Защита
| IP54
|
| Схема соединения внутренних проводников | 3-х проводная |
| Габаритные размеры |
![]() |
Версия: 2022-05-27-ЛВС
